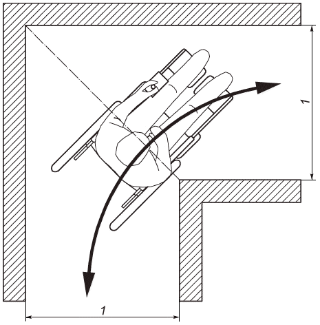
Необходимая ширина углового коридора
Список продуктов
Данный раздел/документ содержится в продуктах:
Данный раздел/документ содержится в продуктах:
- Техэксперт: Нормы, правила, стандарты и законодательство России
- Техэксперт: Нефтегазовый комплекс
- Техэксперт: Машиностроительный комплекс
НЕОБХОДИМАЯ ШИРИНА УГЛОВОГО КОРИДОРА
(required width of angled corridor)
Минимальная ширина коридора с правым углом поворота, в котором кресло-коляска может двигаться в обоих направлениях как вперед, так и назад. См. рисунок 15.
Примечание - Измерение - в соответствии с 8.15.

1 - необходимая ширина углового коридора
Рисунок 15 - Необходимая ширина углового коридора



