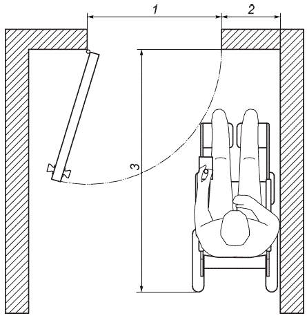
Необходимая глубина дверного проема
Список продуктов
Данный раздел/документ содержится в продуктах:
Данный раздел/документ содержится в продуктах:
- Техэксперт: Нормы, правила, стандарты и законодательство России
- Техэксперт: Нефтегазовый комплекс
- Техэксперт: Машиностроительный комплекс
НЕОБХОДИМАЯ ГЛУБИНА ДВЕРНОГО ПРОЕМА
(required doorway entry depth)
Минимальное расстояние от стены с дверью до самой удаленной точки кресла-коляски при открывающейся двери шириной 800 мм, находящейся в 600 мм от боковой стены. См. рисунок 14.
Примечание - Измерение - в соответствии с 8.16.

1 - открывающаяся дверь шириной 800 мм; 2 - расстояние до стены 600 мм; 3 - необходимая глубина дверного проема
Рисунок 14 - Необходимая глубина дверного проема



