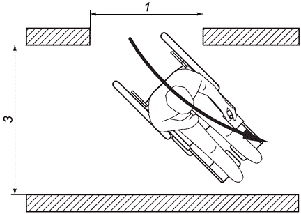
Необходимая ширина коридора для бокового прохода
Список продуктов
Данный раздел/документ содержится в продуктах:
Данный раздел/документ содержится в продуктах:
- Техэксперт: Нормы, правила, стандарты и законодательство России
- Техэксперт: Нефтегазовый комплекс
- Техэксперт: Машиностроительный комплекс
НЕОБХОДИМАЯ ШИРИНА КОРИДОРА ДЛЯ БОКОВОГО ПРОХОДА
(required corridor width for side opening)
Минимальная ширина коридора, которая позволяет креслу-коляске въехать в коридор или выехать из коридора через свободный проход определенной ширины в одной из стен. См. рисунок 13.
Примечание - Измерение - в соответствии с 8.17.

а) Выход

b) Вход



