Подъемный механизм
Список продуктов
Данный раздел/документ содержится в продуктах:
Данный раздел/документ содержится в продуктах:
- Техэксперт: Охрана труда
- Техэксперт: Промышленная безопасность
- Техэксперт: Нормы, правила, стандарты и законодательство России
- Техэксперт: Нефтегазовый комплекс
- Техэксперт: Машиностроительный комплекс
- Техэксперт: Электроэнергетика
- Техэксперт: Теплоэнергетика
- Стройэксперт. "Вариант Лидер"
- Техэксперт: Эксплуатация зданий
- Стройтехнолог
ПОДЪЕМНЫЙ МЕХАНИЗМ
(lifting linkage)
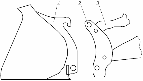
Оснастка фронтальной части колесного погрузчика, состоящая из стрелы и рычажного механизма привода ковша (см. рисунок 1).

1 - навесное оборудование; 2 - сцепная муфта; 3 - подъемный рычажный механизм
Рисунок 1 - Подъемный рычажный механизм погрузчика со сцепной муфтой и навесным оборудованием
"ГОСТ ISO 23727-2014 Машины землеройные. Сцепление для колесных погрузчиков" от 15.06.2015 г.
ПОДЪЕМНЫЙ МЕХАНИЗМ
(lifting machinery)
Устройство, которое выполняет функцию подъема.



