0 продуктов

Авторизация

Область подъема

Список продуктов
Данный раздел/документ содержится в продуктах:


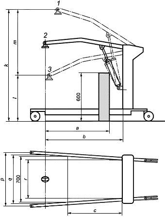
ОБЛАСТЬ ПОДЪЕМА

(hoisting range)

Разность расстояний по вертикали между максимальной и минимальной высотами ЦТП. См. рисунок 1.





1 - положение максимального подъема; 2 - максимально допустимое положение; 3 - самое низкое положение; - максимальная область досягаемости при 600 мм (контрольная высота); - максимальная область досягаемости от основания; - область досягаемости от основания при ногах, расставленных на расстояние до 700 мм; - максимальная высота ЦТП; - минимальная высота ЦТП; - область подъема; - максимальная внутренняя ширина; - внутренняя ширина при максимальной области досягаемости; - минимальная внутренняя ширина

Категории продуктов

 

 

 

Знакомьтесь, "Техэксперт"

 Техэксперт для iPad

 Для Android

АКЦИЯ!

Бесплатный доступ