0 продуктов

Авторизация

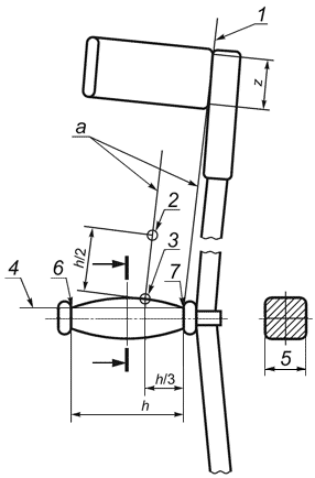
Внутренняя высота манжеты z

Список продуктов
Данный раздел/документ содержится в продуктах:


ВНУТРЕННЯЯ ВЫСОТА МАНЖЕТЫ Z

(cuff internal height)

Внутренний размер манжеты, измеренный в месте, приблизительно параллельном линии опоры рукоятки, который служит для опоры предплечья. См. рисунок 2.







1 - линия опоры манжеты; 2 - точка сустава запястья; 3 - реперная точка; 4 - линия опоры рукоятки; 5 - ширина рукоятки; 6 - передняя контрольная точка рукоятки; 7 - задняя контрольная точка рукоятки; - длина рукоятки; - внутренняя высота манжеты

Категории продуктов

 

 

 

Знакомьтесь, "Техэксперт"

 Техэксперт для iPad

 Для Android

АКЦИЯ!

Бесплатный доступ