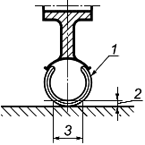
Ширина колесика
Список продуктов
Данный раздел/документ содержится в продуктах:
Данный раздел/документ содержится в продуктах:
- Техэксперт: Нормы, правила, стандарты и законодательство России
- Техэксперт: Нефтегазовый комплекс
- Техэксперт: Машиностроительный комплекс
ШИРИНА КОЛЕСИКА
(wheel width)
Максимальный внешний размер шины колесика, измеренный на расстоянии 5 мм вверх от рабочей поверхности шины при ненагруженных ходунках. См. рисунок 5.

1 - шина; 2 - 5 мм вверх от рабочей поверхности; 3 - ширина колесика
Рисунок 5 - Измерение ширины колесика



