Прижимной тормоз
Список продуктов
Данный раздел/документ содержится в продуктах:
Данный раздел/документ содержится в продуктах:
- Техэксперт: Нормы, правила, стандарты и законодательство России
- Техэксперт: Нефтегазовый комплекс
- Техэксперт: Машиностроительный комплекс
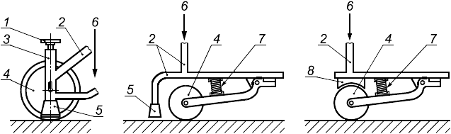
ПРИЖИМНЫЕ ТОРМОЗА
(pressure brakes)
Рабочие тормоза, которые приводятся в действие приложением нагрузки к поддерживающей стойке или опоре предплечья. См. рисунок 4.

1 - вентиль регулировки пружины; 2 - рама ходунков; 3 - корпус для размещения пружины и оси колеса; 4 - заднее колесо; 5 - резиновый наконечник (тормоз); 6 - усилие, прикладываемое пользователем в точках опоры; 7 - пружина; 8 - тормозная колодка
Рисунок 4 - Примеры технически различных видов прижимных тормозов



