0 продуктов

Авторизация

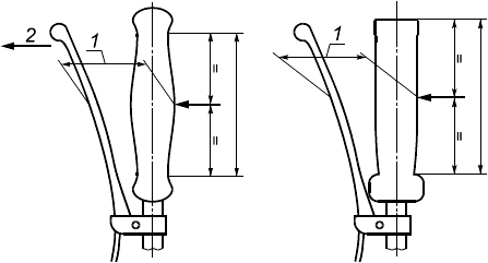
Расстояние до рычага тормоза

Список продуктов
Данный раздел/документ содержится в продуктах:


РАССТОЯНИЕ ДО РЫЧАГА ТОРМОЗА

(rake grip distance)

Расстояние, измеренное в центре рукоятки по перпендикуляру к оси ручки от задней поверхности рукоятки до передней поверхности ручки тормоза, при нейтральном положении ручки тормоза. См. рисунок 8.





1 - расстояние до рычага тормоза; 2 - внешняя сторона

Рисунок 8 - Расстояние до рычага тормоза

"ГОСТ Р ИСО 11199-3-2010 Средства вспомогательные для ходьбы, управляемые обеими руками. Требования и методы испытаний. Часть 3. Ходунки с опорой на предплечье" от 29.06.2010 г.

Категории продуктов

 

 

 

Знакомьтесь, "Техэксперт"

 Техэксперт для iPad

 Для Android

АКЦИЯ!

Бесплатный доступ