Шарнирная линия
Список продуктов
Данный раздел/документ содержится в продуктах:
Данный раздел/документ содержится в продуктах:
- Техэксперт: Нормы, правила, стандарты и законодательство России
- Техэксперт: Нефтегазовый комплекс
- Техэксперт: Машиностроительный комплекс
ШАРНИРНАЯ ЛИНИЯ
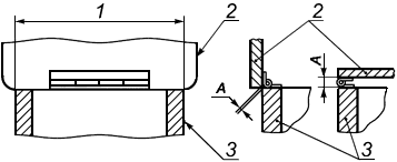
Линия, проходящая через поворотную ось или параллельно ей (см. рисунок 3).

1 - шарнирная линия; 2 - крышка; 3 - ящик; А - расстояние между краями деталей, соединенных шарниром
Рисунок 3 - Определение понятия шарнирной линии



