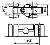
Колея колесной машины
Список продуктов
Данный раздел/документ содержится в продуктах:
Данный раздел/документ содержится в продуктах:
- Техэксперт: Нормы, правила, стандарты и законодательство России
- Техэксперт: Нефтегазовый комплекс
- Техэксперт: Машиностроительный комплекс
- Стройэксперт. "Вариант Лидер"
- Техэксперт: Эксплуатация зданий
- Стройтехнолог
КОЛЕЯ КОЛЕСНОЙ МАШИНЫ
W3
Расстояние по координате между двумя плоскостями
, проходящими через осевые линии шин. При сдвоенных колесах - расстояние между двумя плоскостями
, проходящими через осевые линии сдвоенных колес. Если машина имеет более одного размера колеи, то следует указывать каждый из них



