0 продуктов

Авторизация

Направляющая вставного блока

Список продуктов
Данный раздел/документ содержится в продуктах:


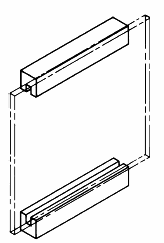
НАПРАВЛЯЮЩАЯ ВСТАВНОГО БЛОКА

(plug-in unit guide)

Устройство, предназначенное направлять, размещать и поддерживать вставные блоки и печатные платы с установленными компонентами в блочных каркасах (см. рисунок 9).





Рисунок 9

"ГОСТ Р МЭК 60917-1-2011 Модульный принцип построения базовых несущих конструкций для электронного оборудования. Часть 1. Общий стандарт" от 14.12.2011 г.

Категории продуктов

 

 

 

Знакомьтесь, "Техэксперт"

 Техэксперт для iPad

 Для Android

АКЦИЯ!

Бесплатный доступ