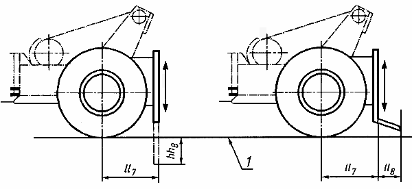
Расстояние от оси задних колес до подвижного щита
Список продуктов
Данный раздел/документ содержится в продуктах:
Данный раздел/документ содержится в продуктах:
- Техэксперт: Нормы, правила, стандарты и законодательство России
- Техэксперт: Нефтегазовый комплекс
- Техэксперт: Машиностроительный комплекс
РАССТОЯНИЕ ОТ ОСИ ЗАДНИХ КОЛЕС ДО ПОДВИЖНОГО ЩИТА
Расстояние по горизонтали от внешней вертикальной плоскости подвижного щита до оси задних колес (рисунок 6).

1 - опорная площадь отсчета
Рисунок 6 - Конструктивные параметры подвижного щита



