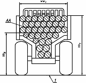
Площадь сечения грузовой платформы для сортиментов
Список продуктов
Данный раздел/документ содержится в продуктах:
Данный раздел/документ содержится в продуктах:
- Техэксперт: Нормы, правила, стандарты и законодательство России
- Техэксперт: Нефтегазовый комплекс
- Техэксперт: Машиностроительный комплекс
- Стройэксперт. "Вариант Лидер"
- Техэксперт: Эксплуатация зданий
- Стройтехнолог
ПЛОЩАДЬ СЕЧЕНИЯ ГРУЗОВОЙ ПЛАТФОРМЫ ДЛЯ СОРТИМЕНТОВ
Площадь грузовой платформы в поперечной вертикальной плоскости, ограниченная стойками платформы. Высоту загрузки определяют высотой стоек (рисунок 6).

1 - опорная плоскость отсчета
Рисунок 6 - Конструктивные параметры грузовой платформы



