Устройство расширения-пережима
Список продуктов
Данный раздел/документ содержится в продуктах:
Данный раздел/документ содержится в продуктах:
- Техэксперт: Охрана труда
- Техэксперт: Нормы, правила, стандарты и законодательство России
- Техэксперт: Нефтегазовый комплекс
- Техэксперт: Машиностроительный комплекс
УСТРОЙСТВО РАСШИРЕНИЯ-ПЕРЕЖИМА
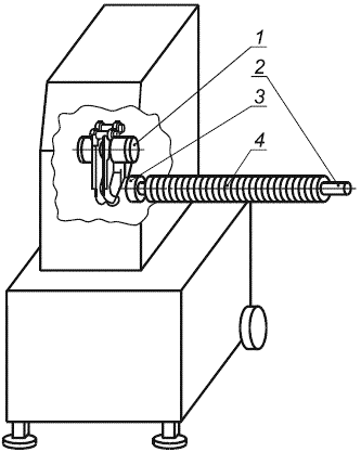
Устройство для расширения оболочки с целью заполнения ее продуктом, формирования свободной от продукта зоны оболочки для наложения клипсы, пережима оболочки (см. рисунки 1, 2).

1 - устройство расширения-пережима; 2 - цевка; 3 - тормоз оболочки; 4 - оболочка
Рисунок 1 - Клипсатор с устройством расширения-пережима

Рисунок 2 - Устройство расширения-пережима - деталировка



