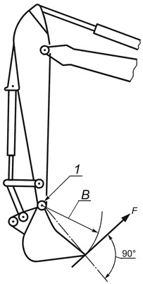
Радиус усилия на ковше
Список продуктов
Данный раздел/документ содержится в продуктах:
Данный раздел/документ содержится в продуктах:
- Техэксперт: Нормы, правила, стандарты и законодательство России
- Техэксперт: Нефтегазовый комплекс
- Техэксперт: Машиностроительный комплекс
- Стройэксперт. "Вариант Лидер"
- Техэксперт: Эксплуатация зданий
- Стройтехнолог
РАДИУС B УСИЛИЯ НА КОВШЕ
(bucket force radius
)
Радиус дуги, которую описывает режущая кромка ковша и центром которой является центр шарнира ковша (см. рисунок 6).

а) Оборудование "обратная лопата"




