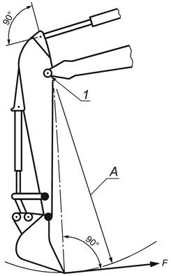
Радиус А усилия на рукояти
Список продуктов
Данный раздел/документ содержится в продуктах:
Данный раздел/документ содержится в продуктах:
- Техэксперт: Нормы, правила, стандарты и законодательство России
- Техэксперт: Нефтегазовый комплекс
- Техэксперт: Машиностроительный комплекс
- Стройэксперт. "Вариант Лидер"
- Техэксперт: Эксплуатация зданий
- Стройтехнолог
РАДИУС А УСИЛИЯ НА РУКОЯТИ
(arm force radius
)
Радиус дуги, которая проходит через режущую кромку ковша и центр которой является центром шарнира рукояти (см. рисунок 5).

а) Оборудование "обратная лопата"




