Колпачковый контактный зажим
Список продуктов
Данный раздел/документ содержится в продуктах:
Данный раздел/документ содержится в продуктах:
- Техэксперт: Нормы, правила, стандарты и законодательство России
- Техэксперт: Нефтегазовый комплекс
- Техэксперт: Машиностроительный комплекс
- Техэксперт: Электроэнергетика
- Техэксперт: Теплоэнергетика
- Стройэксперт. "Вариант Лидер"
- Техэксперт: Эксплуатация зданий
- Стройтехнолог
КОЛПАЧКОВЫЙ КОНТАКТНЫЙ ЗАЖИМ
(mantle terminal)
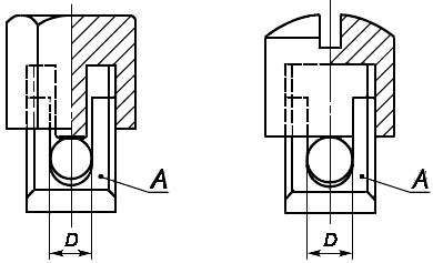
Зажим, в котором жилу провода прижимают гайкой в пазе шпильки. Прижим обеспечивается шайбой специальной формы, устанавливаемой под гайкой, либо центральным выступом колпачковой гайки, или другим равноценным способом передачи давления на жилу гайки без паза.
Примеры колпачковых контактных зажимов приведены на рисунке 16.
- опорная деталь;
- диаметр места расположения жилы провода



