Контактный зажим для кабельных наконечников
Список продуктов
Данный раздел/документ содержится в продуктах:
Данный раздел/документ содержится в продуктах:
- Техэксперт: Нормы, правила, стандарты и законодательство России
- Техэксперт: Нефтегазовый комплекс
- Техэксперт: Машиностроительный комплекс
- Техэксперт: Электроэнергетика
- Техэксперт: Теплоэнергетика
- Стройэксперт. "Вариант Лидер"
- Техэксперт: Эксплуатация зданий
- Стройтехнолог
КОНТАКТНЫЙ ЗАЖИМ ДЛЯ КАБЕЛЬНЫХ НАКОНЕЧНИКОВ
(lug terminal)
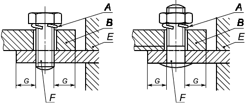
Зажим с крепежной головкой или крепежной гайкой, предназначенный для прижима кабельных наконечников или плоского вывода с помощью винтов или гаек.
Примеры контактных зажимов для кабельных наконечников приведены на 15.
- устройство защиты от самоотвинчивания;
- кабельный наконечник или плоский вывод;
- опорная деталь;
- шпилька;
- расстояние между краем отверстия и боковой стороной кабельного наконечника или плоского вывода



