Контактный зажим с крепежной гайкой
Список продуктов
Данный раздел/документ содержится в продуктах:
Данный раздел/документ содержится в продуктах:
- Техэксперт: Нормы, правила, стандарты и законодательство России
- Техэксперт: Нефтегазовый комплекс
- Техэксперт: Машиностроительный комплекс
- Техэксперт: Электроэнергетика
- Техэксперт: Теплоэнергетика
- Стройэксперт. "Вариант Лидер"
- Техэксперт: Эксплуатация зданий
- Стройтехнолог
КОНТАКТНЫЙ ЗАЖИМ С КРЕПЕЖНОЙ ГАЙКОЙ
(stud terminal)
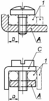
Зажим, в котором жилу провода прижимают гайкой. Давление на жилу может передаваться непосредственно гайкой соответствующей формы или через промежуточные детали, такие как шайба, прижимная пластина или устройство, защищающее жилу от выдавливания.
Примеры контактных зажимов с крепежной гайкой приведены на рисунке 13.
Винт, не требующий шайбы или прижимной пластины |
Винт, требующий шайбу или прижимную пластину |
|




