Контактный зажим с крепежной головкой
Список продуктов
Данный раздел/документ содержится в продуктах:
Данный раздел/документ содержится в продуктах:
- Техэксперт: Нормы, правила, стандарты и законодательство России
- Техэксперт: Нефтегазовый комплекс
- Техэксперт: Машиностроительный комплекс
- Техэксперт: Электроэнергетика
- Техэксперт: Теплоэнергетика
- Стройэксперт. "Вариант Лидер"
- Техэксперт: Эксплуатация зданий
- Стройтехнолог
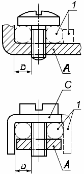
КОНТАКТНЫЙ ЗАЖИМ С КРЕПЕЖНОЙ ГОЛОВКОЙ
(screw terminal)
Зажим, в котором жилу провода прижимают головкой винта. Давление на жилу может передаваться непосредственно головкой винта или через промежуточные детали, такие как шайба, прижимная пластина или устройство, защищающее провод от выдавливания.
Примеры контактных зажимов с крепежной головкой приведены на рисунке 13.
Винт, не требующий шайбы или прижимной пластины |
Винт, требующий шайбу или прижимную пластину |
|




