0 продуктов

Авторизация

Контактный зажим с прижимной планкой

Список продуктов
Данный раздел/документ содержится в продуктах:


КОНТАКТНЫЙ ЗАЖИМ С ПРИЖИМНОЙ ПЛАНКОЙ

(saddle terminal)

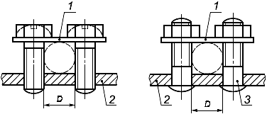
Контактный зажим, в котором жила кабеля, шнура или провода зажимается планкой с помощью двух или более винтов (см. рисунок 4).     


1 - прижимная пластина; 2 - неподвижная деталь; 3 - шпилька; D - место расположения проводника



Сечение проводника в зажиме, мм

Минимальный диаметр D места расположения проводника, мм

Крутящий момент, Н·м

Категории продуктов

 

 

 

Знакомьтесь, "Техэксперт"

 Техэксперт для iPad

 Для Android

АКЦИЯ!

Бесплатный доступ