0 продуктов

Авторизация

Торцевой контактный зажим

Список продуктов
Данный раздел/документ содержится в продуктах:


ТОРЦЕВОЙ КОНТАКТНЫЙ ЗАЖИМ

(pillar terminal)

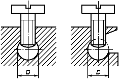
Контактный зажим винтового типа, в котором жила кабеля, шнура или провода вставляется в отверстие или паз и прижимается торцем винта или винтов.

Усилие зажима может осуществляться самим винтом или с помощью промежуточного зажимного устройства, к которому прилагается усилие винта (см. рисунок 2).

 

 


 


 

Категории продуктов

 

 

 

Знакомьтесь, "Техэксперт"

 Техэксперт для iPad

 Для Android

АКЦИЯ!

Бесплатный доступ