Недопрессовка
Список продуктов
Данный раздел/документ содержится в продуктах:
Данный раздел/документ содержится в продуктах:
- Техэксперт: Нормы, правила, стандарты и законодательство России
- Техэксперт: Нефтегазовый комплекс
- Техэксперт: Машиностроительный комплекс
- Техэксперт: Электроэнергетика
- Техэксперт: Теплоэнергетика
- Стройэксперт. "Вариант Лидер"
- Техэксперт: Эксплуатация зданий
- Стройтехнолог
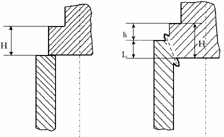
НЕДОПРЕССОВКА
Дефект, при котором материал не полностью воспроизводит форму изделия.
НЕДОПРЕССОВКА
Означает размер на образующей оболочки между ее торцом и торцом заглушки. На шлифах недопрессовку можно подсчитать по схеме, приведенной на рисунке Г.1;
.




