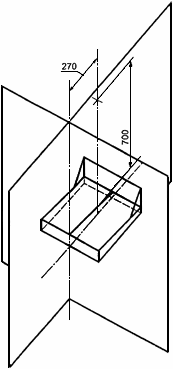
Базовая точка
Список продуктов
Данный раздел/документ содержится в продуктах:
Данный раздел/документ содержится в продуктах:
- Техэксперт: Охрана труда
- Техэксперт: Нормы, правила, стандарты и законодательство России
- Техэксперт: Нефтегазовый комплекс
- Техэксперт: Машиностроительный комплекс
БАЗОВАЯ ТОЧКА
Точка, которая находится в плоскости, параллельной средней продольной плоскости трактора и проходящей через середину сиденья на расстоянии 700 мм выше линии пересечения этой плоскости с поверхностью сиденья и в 270 мм - в направлении опоры таза - от вертикальной плоскости, касательной к переднему краю поверхности сиденья и перпендикулярной к средней продольной плоскости трактора (рисунок 1). Определенная таким образом базовая точка соответствует свободному сиденью в среднем положении регулировки, указанном предприятием-изготовителем трактора.

Рисунок 1



