0 продуктов

Авторизация

Сигнальный вход

Список продуктов
Данный раздел/документ содержится в продуктах:


СИГНАЛЬНЫЙ ВХОД

SIGNAL INPUT PART

Часть ИЗДЕЛИЯ, не являющаяся РАБОЧЕЙ ЧАСТЬЮ, предназначенная для приема входных сигнальных напряжений или токов, например, для воспроизведения записи или обработки данных

"ГОСТ Р МЭК/ТО 60788-2009 Изделия медицинские электрические. Словарь" от 09.12.2009 г.


СИГНАЛЬНЫЙ ВХОД

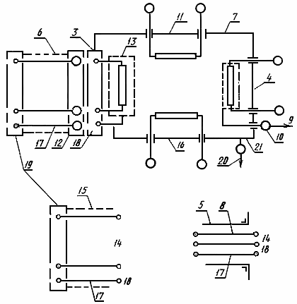
Часть изделия, не являющаяся рабочей частью, предназначенная для приема входных сигнальных напряжений или токов от других устройств, например для воспроизведения записи или обработки данных (см. Рисунок).

Примеры зажимов и проводов



Категории продуктов

 

 

 

Знакомьтесь, "Техэксперт"

 Техэксперт для iPad

 Для Android

АКЦИЯ!

Бесплатный доступ