Единичная зона
Данный раздел/документ содержится в продуктах:
- Техэксперт: Нормы, правила, стандарты и законодательство России
- Техэксперт: Нефтегазовый комплекс
- Техэксперт: Машиностроительный комплекс
ЕДИНИЧНАЯ ЗОНА
(unit area)
Часть мембранного фильтра, выделяемая для статистического подсчета.
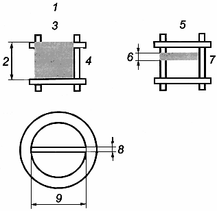
Примечание - При ручном подсчете единичная зона определяется как площадь мембранного фильтра, ограниченная в горизонтальной плоскости двумя смежными вертикальными координатными линиями сетки мембранного фильтра, а в вертикальной плоскости - двумя параллельными линиями на микрометрическом окуляре или нанесенными на проекционном экране. Примеры единичных зон приведены на рисунке 1. Для анализа изображений - это фиксированное поле зрения, определяемое оптическими и электронными системами.

1 - координатный квадрат; 2 - ширина координатного квадрата, мм; 3 - длина координатного квадрата, мм; 4 - заполненный координатный квадрат; 5 - единичная зона на градуированной мембране; 6 - высота сетки для определения единичной зоны, мкм; 7 - единичная зона; 8 - круговая единичная зона на неградуированной мембране; 9 - диаметр рабочей зоны фильтрования мембранного фильтра



