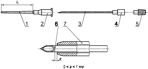
Игла
Список продуктов
Данный раздел/документ содержится в продуктах:
Данный раздел/документ содержится в продуктах:
- Техэксперт: Нормы, правила, стандарты и законодательство России
- Техэксперт: Нефтегазовый комплекс
- Техэксперт: Машиностроительный комплекс
- Техэксперт: Электроэнергетика
- Техэксперт: Теплоэнергетика
- Стройэксперт. "Вариант Лидер"
- Техэксперт: Эксплуатация зданий
- Стройтехнолог
ИГЛА
Узел, состоящий из трубки, подсоединенной и сообщающейся с канюлей иглы (рисунок 1).
- эффективная длина; 1 - трубка катетера; 2 - канюля катетера; 3 - трубка иглы; 4 - канюля иглы; 5 - насадка с клапаном; 6 - пятка скоса; 7 - элемент катетера
Рисунок 1 - Типичный периферический внутрисосудистый катетер с внутренней иглой
ИГЛА
Needle
aiguille



