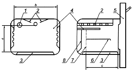
Полезная высота пространства духовки
Список продуктов
Данный раздел/документ содержится в продуктах:
Данный раздел/документ содержится в продуктах:
- Техэксперт: Промышленная безопасность
- Техэксперт: Нормы, правила, стандарты и законодательство России
- Техэксперт: Нефтегазовый комплекс
- Техэксперт: Машиностроительный комплекс
- Техэксперт: Электроэнергетика
- Техэксперт: Теплоэнергетика
- Стройэксперт. "Вариант Лидер"
- Техэксперт: Эксплуатация зданий
- Стройтехнолог
ПОЛЕЗНАЯ ВЫСОТА ПРОСТРАНСТВА ДУХОВКИ
Расчетная высота от нижнего края до верхнего края дверного проема, за исключением выступающих элементов духовки (см. рисунок 1)

1 - источник освещения;
2 - горелка гриля;
3 - основание;
4 - чувствительный элемент термостата;
5 - дверь;



