Машина барабанного типа
Список продуктов
Данный раздел/документ содержится в продуктах:
Данный раздел/документ содержится в продуктах:
- Техэксперт: Нормы, правила, стандарты и законодательство России
- Техэксперт: Нефтегазовый комплекс
- Техэксперт: Машиностроительный комплекс
МАШИНА БАРАБАННОГО ТИПА
(reel machine)
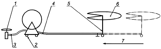
Подвижная дождевальная машина типа 1 со стационарным барабаном для наматывания раздаточной трубы, подводящей воду к системе распределения воды (чаще всего дождевальный аппарат пушечного типа), с целью перемещения тележки, на которой установлена эта система (рисунок 1)

1 - источник воды;
2 - стационарный барабан;
3 - труба/шланг от источника воды;



