Максимальное эффективное давление
Список продуктов
Данный раздел/документ содержится в продуктах:
Данный раздел/документ содержится в продуктах:
- Техэксперт: Нормы, правила, стандарты и законодательство России
- Техэксперт: Нефтегазовый комплекс
- Техэксперт: Машиностроительный комплекс
МАКСИМАЛЬНОЕ ЭФФЕКТИВНОЕ ДАВЛЕНИЕ
(maximum effective pressure)
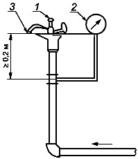
Самое высокое рабочее давление, установленное изготовителем, измеренное перед дождевальным аппаратом в точке, расположенной примерно на 0,2 м ниже основной насадки, манометром, расположенным на том же уровне, что и основная насадка (см. рисунок 1)

1 - испытуемый дождевальный аппарат; 2 - манометр; 3 - основная насадка



