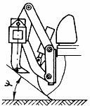
Задний угол въезда рыхлителя
Список продуктов
Данный раздел/документ содержится в продуктах:
Данный раздел/документ содержится в продуктах:
- Техэксперт: Нормы, правила, стандарты и законодательство России
- Техэксперт: Нефтегазовый комплекс
- Техэксперт: Машиностроительный комплекс
ЗАДНИЙ УГОЛ ВЪЕЗДА РЫХЛИТЕЛЯ
Е. Shank departure angle
Угол, образованный опорной поверхностью базовой машины и плоскостью, проведенной через крайнюю нижнюю точку рыхлительного оборудования в максимально поднятом его положении, касательно к образующей гусеницы или колеса базовой машины
"ГОСТ 19218-73 Рыхлители. Термины, определения и буквенные обозначения" от 23.11.1973 г.



