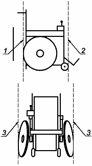
Передняя вертикальная плоскость
Список продуктов
Данный раздел/документ содержится в продуктах:
Данный раздел/документ содержится в продуктах:
- Техэксперт: Охрана труда
- Техэксперт: Нормы, правила, стандарты и законодательство России
- Техэксперт: Нефтегазовый комплекс
- Техэксперт: Машиностроительный комплекс
ПЕРЕДНЯЯ ВЕРТИКАЛЬНАЯ ПЛОСКОСТЬ
Вертикальная плоскость, расположенная спереди кресла-коляски перпендикулярно к направлению движения вперед и проходящая через переднюю точку наиболее отодвинутого переднего колеса (см. рисунок 1).

1 - задняя вертикальная плоскость; 2 - передняя вертикальная плоскость; 3 - боковая вертикальная плоскость
Рисунок 1 - Обозначение вертикальных плоскостей коляски



