Точка равновесия
Список продуктов
Данный раздел/документ содержится в продуктах:
Данный раздел/документ содержится в продуктах:
- Техэксперт: Нормы, правила, стандарты и законодательство России
- Техэксперт: Нефтегазовый комплекс
- Техэксперт: Машиностроительный комплекс
ТОЧКА РАВНОВЕСИЯ
:
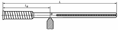
Точка на продольной оси ракетки или рамки, которая отличается тем, что ракетка или рамка находятся в равновесии при опоре на данную точку (см. рисунок 2).

Рисунок 2 - Точка равновесия () теннисной ракетки
"ГОСТ Р ИСО 11416-2009 Ракетки теннисные. Элементы и параметры ракетки" от 30.06.2009 г.



