Угловое отклонение
Список продуктов
Данный раздел/документ содержится в продуктах:
Данный раздел/документ содержится в продуктах:
- Техэксперт: Нормы, правила, стандарты и законодательство России
- Техэксперт: Нефтегазовый комплекс
- Техэксперт: Машиностроительный комплекс
- Техэксперт: Электроэнергетика
- Техэксперт: Теплоэнергетика
- Стройэксперт. "Вариант Лидер"
- Техэксперт: Эксплуатация зданий
- Стройтехнолог
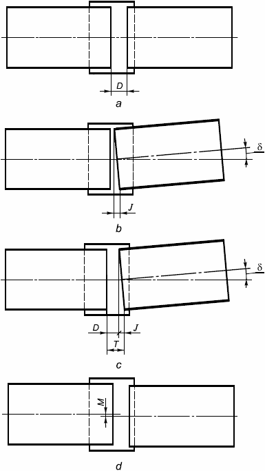
УГЛОВОЕ ОТКЛОНЕНИЕ
(angular deflection) , градусы
Угол между осями двух идущих подряд труб (рисунок 1).
- расхождение стыка;
- продольное смещение, возникающее из-за углового отклонения соединения;
- угловое отклонение соединения;
- общее расхождение стыка;
- осевое смещение



