Ось нагрузки
Список продуктов
Данный раздел/документ содержится в продуктах:
Данный раздел/документ содержится в продуктах:
- Техэксперт: Нормы, правила, стандарты и законодательство России
- Техэксперт: Нефтегазовый комплекс
- Техэксперт: Машиностроительный комплекс
ОСЬ НАГРУЗКИ
(load axis)
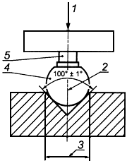
Линия действия нагрузки сжатия, прикладываемой к головке (рисунки 2, 3а), 3b), 4 и 5).

1 - центральная линия головки; 2 - головка; 3 - шейка; 4 - ось шейки; 5 - ось нагрузки; - угол наклона оси шейки к оси нагрузки испытательной машины, равный 0°±1°; X - смещение оси нагрузки от центра головки, равное (0±0,1) мм
Рисунок 2 - Схема допусков на совмещение осей при испытании на сжатие




