Общая глубина
Список продуктов
Данный раздел/документ содержится в продуктах:
Данный раздел/документ содержится в продуктах:
- Техэксперт: Нормы, правила, стандарты и законодательство России
- Техэксперт: Нефтегазовый комплекс
- Техэксперт: Машиностроительный комплекс
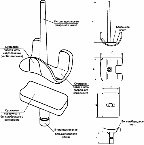
ОБЩАЯ ГЛУБИНА
Максимальный размер бедренного или большеберцового компонентов в переднезаднем направлении при полностью разогнутом суставе (см. рисунки 2-5, размер ).
- общая глубина большеберцового или бедренного компонентов;
- общая ширина большеберцового или бедренного компонентов;
- длина бедренной ножки;
- длина большеберцовой ножки



