Частично связанный тотальный эндопротез коленного сустава
Список продуктов
Данный раздел/документ содержится в продуктах:
Данный раздел/документ содержится в продуктах:
- Техэксперт: Нормы, правила, стандарты и законодательство России
- Техэксперт: Нефтегазовый комплекс
- Техэксперт: Машиностроительный комплекс
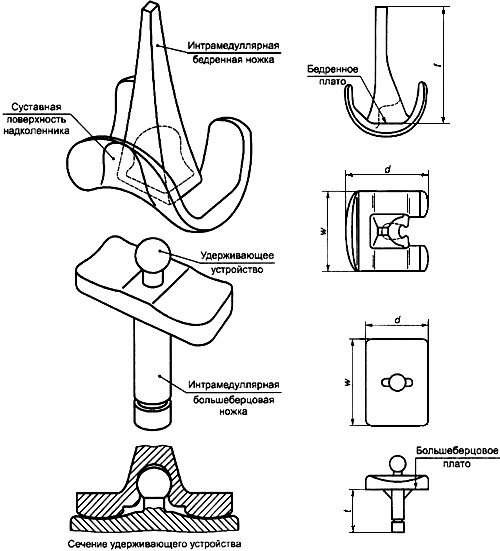
ЧАСТИЧНО СВЯЗАННЫЙ ТОТАЛЬНЫЙ ЭНДОПРОТЕЗ КОЛЕННОГО СУСТАВА
Тотальный эндопротез коленного сустава с некоторой механической связью между бедренным и большеберцовым компонентами, обеспечивающий движение более чем в одной плоскости (см. рисунок 5).
- общая глубина большеберцового или бедренного компонентов;
- общая ширина большеберцового или бедренного компонентов;
- длина бедренной ножки,
- длина большеберцовой ножки



