Несвязанный тотальный эндопротез коленного сустава
Список продуктов
Данный раздел/документ содержится в продуктах:
Данный раздел/документ содержится в продуктах:
- Техэксперт: Нормы, правила, стандарты и законодательство России
- Техэксперт: Нефтегазовый комплекс
- Техэксперт: Машиностроительный комплекс
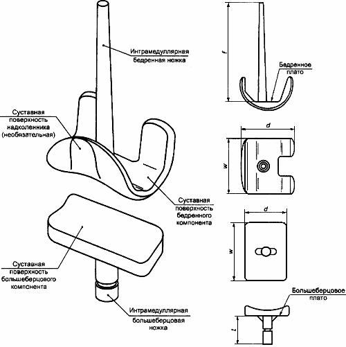
НЕСВЯЗАННЫЙ ТОТАЛЬНЫЙ ЭНДОПРОТЕЗ КОЛЕННОГО СУСТАВА
Тотальный эндопротез коленного сустава без механического соединения между бедренным и большеберцовым компонентами, обеспечивающий движение во всех трех плоскостях (см. рисунки 2, 3 и 4).

- общая глубина большеберцового или бедренного компонентов;
- общая ширина большеберцового или бедренного компонентов;
- длина бедренной ножки;
- длина большеберцовой ножки



