Коврик, реагирующий на давление
Данный раздел/документ содержится в продуктах:
- Техэксперт: Охрана труда
- Техэксперт: Промышленная безопасность
- Техэксперт: Нормы, правила, стандарты и законодательство России
- Техэксперт: Нефтегазовый комплекс
- Техэксперт: Машиностроительный комплекс
- Техэксперт: Электроэнергетика
- Техэксперт: Теплоэнергетика
- Стройэксперт. "Вариант Лидер"
- Техэксперт: Эксплуатация зданий
- Стройтехнолог
КОВРИК, РЕАГИРУЮЩИЙ НА ДАВЛЕНИЕ
(pressure sensitive mat)
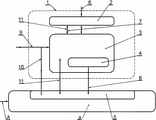
Устройство безопасности (ЕН 292-1, пункт 3.23.5) для обнаружения человека, который стоит на нем или наступает на него. Оно содержит датчик (датчики), реагирующий на давление, блок управления и один или несколько выходных сигналов для переключающих устройств (рисунок 1).

1 - обработка выходного сигнала коврика или пола, реагирующего на давление; 6 - воздействующая сила; 7 - выход датчика; 8 - сигнал замкнутого/разомкнутого состояния; 9 - сигнал ручного восстановления (при необходимости вместо А); 10 - сигнал восстановления от системы управления машиной (при необходимости); 11 - контрольные сигналы (необязательные); - сигнал ручного восстановления для системы управления машиной (при необходимости вместо 9);
- система (системы) управления машиной



