0 продуктов

Авторизация

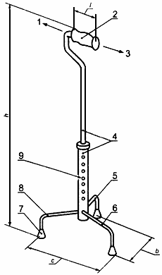
Габаритная ширина трости

Список продуктов
Данный раздел/документ содержится в продуктах:


ГАБАРИТНАЯ ШИРИНА ТРОСТИ

(walking-stick width)

Максимальное расстояние между наиболее выступающими элементами трости, измеренное по горизонтали перпендикулярно к направлению движения (рисунки 1-3).





1 - направление движения вперед; 2 - рукоятка; 3 - направление движения назад; 4 - телескопические части; 5 - боковая ножка; 6 - задняя ножка; 7 - наконечник; 8 - передняя ножка; 9 - устройство регулировки и фиксации высоты; - длина рукоятки; - габаритная ширина трости; - габаритная длина трости по горизонтали; - высота трости

Категории продуктов

 

 

 

Знакомьтесь, "Техэксперт"

 Техэксперт для iPad

 Для Android

АКЦИЯ!

Бесплатный доступ