Габаритная длина трости по горизонтали
Список продуктов
Данный раздел/документ содержится в продуктах:
Данный раздел/документ содержится в продуктах:
- Техэксперт: Нормы, правила, стандарты и законодательство России
- Техэксперт: Нефтегазовый комплекс
- Техэксперт: Машиностроительный комплекс
ГАБАРИТНАЯ ДЛИНА ТРОСТИ ПО ГОРИЗОНТАЛИ
(walking-stick depth)
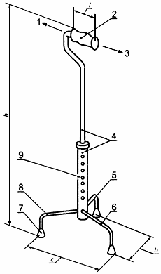
Максимальное расстояние между наиболее выступающими элементами трости, измеренное по горизонтали в направлении движения (рисунки 1-3).

1 - направление движения вперед; 2 - рукоятка; 3 - направление движения назад; 4 - телескопические части; 5 - боковая ножка; 6 - задняя ножка; 7 - наконечник; 8 - передняя ножка; 9 - устройство регулировки и фиксации высоты; - длина рукоятки;
- габаритная ширина трости;
- габаритная длина трости по горизонтали;
- высота трости



