Ширина рукоятки
Список продуктов
Данный раздел/документ содержится в продуктах:
Данный раздел/документ содержится в продуктах:
- Техэксперт: Нормы, правила, стандарты и законодательство России
- Техэксперт: Нефтегазовый комплекс
- Техэксперт: Машиностроительный комплекс
ШИРИНА РУКОЯТКИ
(handgrip width)
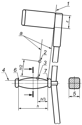
Ширина рукоятки, измеренная по горизонтали в самой широкой части рукоятки, где располагается рука. См. рисунок 2, обозначение 5.

1 - линия опоры манжеты; 2 - точка сустава запястья; 3 - реперная точка; 4 - линия опоры рукоятки; 5 - ширина рукоятки; 6 - передняя контрольная точка рукоятки; 7 - задняя контрольная точка рукоятки; - длина рукоятки;
- внутренняя высота манжеты



