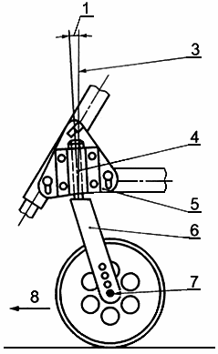
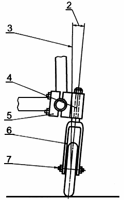
Стакан вилки самоориентирующегося колеса
Список продуктов
Данный раздел/документ содержится в продуктах:
Данный раздел/документ содержится в продуктах:
- Техэксперт: Нормы, правила, стандарты и законодательство России
- Техэксперт: Нефтегазовый комплекс
- Техэксперт: Машиностроительный комплекс
СТАКАН ВИЛКИ САМООРИЕНТИРУЮЩЕГОСЯ КОЛЕСА
Стакан вилки
(castor stem housing)
Элемент, в котором происходит поворот вилки (рисунок 2).
а) Узел самоориентирующегося колеса, продольная плоскость

б) Узел самоориентирующегося колеса, поперечная плоскость



