Вилка самоориентирующегося колеса
Список продуктов
Данный раздел/документ содержится в продуктах:
Данный раздел/документ содержится в продуктах:
- Техэксперт: Нормы, правила, стандарты и законодательство России
- Техэксперт: Нефтегазовый комплекс
- Техэксперт: Машиностроительный комплекс
ВИЛКА САМООРИЕНТИРУЮЩЕГОСЯ КОЛЕСА
Castor fork
caster fork
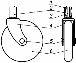
Компонент сборочного узла самоориентирующегося колеса, к которому крепится самоориентирующееся колесо. См. рисунок 1.

1 - подшипник; 2 - корпус штока самоориентирующегося колеса; 3 - шток самоориентирующегося колеса; 4 - вилка самоориентирующегося колеса; 5 - ось самоориентирующегося колеса; 6 - самоориентирующееся колесо
Рисунок 1 - Сборочный узел самоориентирующегося колеса
(Нрк. опора самоориентирующегося колеса).



