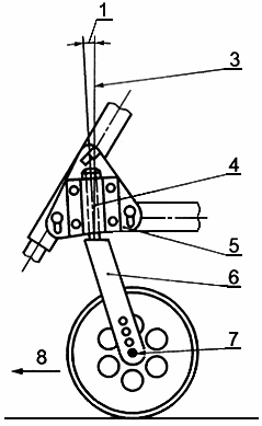
Угол установки поворотной оси вилки самоориентирующегося колеса
Список продуктов
Данный раздел/документ содержится в продуктах:
Данный раздел/документ содержится в продуктах:
- Техэксперт: Нормы, правила, стандарты и законодательство России
- Техэксперт: Нефтегазовый комплекс
- Техэксперт: Машиностроительный комплекс
УГОЛ УСТАНОВКИ ПОВОРОТНОЙ ОСИ ВИЛКИ САМООРИЕНТИРУЮЩЕГОСЯ КОЛЕСА
(castor stem angle): Угол между поворотной осью вилки самоориентирующегося колеса и вертикалью.
Примечание - Положительные углы установки поворотной оси вилки самоориентирующегося колеса показаны на рисунке 2.

а) Узел самоориентирующегося колеса, продольная плоскость

б) Узел самоориентирующегося колеса, поперечная плоскость



