Дверной блок правого (левого) открывания
Список продуктов
Данный раздел/документ содержится в продуктах:
Данный раздел/документ содержится в продуктах:
- Техэксперт: Нормы, правила, стандарты и законодательство России
- Техэксперт: Нефтегазовый комплекс
- Техэксперт: Машиностроительный комплекс
- Стройэксперт. "Вариант Лидер"
- Техэксперт: Эксплуатация зданий
- Стройтехнолог
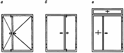
ДВЕРНОЙ БЛОК ПРАВОГО (ЛЕВОГО) ОТКРЫВАНИЯ
Дверной блок с расположением петель с правой (левой) стороны при виде со стороны открывания полотна.
ДВЕРНОЙ БЛОК ПРАВОГО (ЛЕВОГО) ОТКРЫВАНИЯ
Дверной блок с расположением петель с правой (левой) стороны при виде со стороны открывания полотна.
Примечание - В двупольном дверном блоке правое или левое открывание определяют по расположению полотна, которое открывается первым (рисунок А.1).




