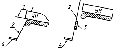
Базовая плоскость подножки
Список продуктов
Данный раздел/документ содержится в продуктах:
Данный раздел/документ содержится в продуктах:
- Техэксперт: Нормы, правила, стандарты и законодательство России
- Техэксперт: Нефтегазовый комплекс
- Техэксперт: Машиностроительный комплекс
БАЗОВАЯ ПЛОСКОСТЬ ПОДНОЖКИ
Плоскость, проходящая через задний край опоры стопы (или задника-держателя) и наиболее выступающую переднюю часть сиденья кресла-коляски, или плоскость, проходящая через задний край опоры стопы (или задника-держателя) кресла-коляски и наиболее выступающую часть подставки под голень (рисунок 2).

1 - базовая плоскость сиденья; 2 - базовая плоскость подножки; 3 - подставка под голень; 4 - опора стопы
Рисунок 2 - Базовая плоскость подножки



