Шахта лифта
Список продуктов
Данный раздел/документ содержится в продуктах:
Данный раздел/документ содержится в продуктах:
- Техэксперт: Промышленная безопасность
- Техэксперт: Пожарная безопасность
- Техэксперт: Нормы, правила, стандарты и законодательство России
- Техэксперт: Нефтегазовый комплекс
- Техэксперт: Машиностроительный комплекс
- Стройэксперт. "Вариант Лидер"
- Техэксперт: Эксплуатация зданий
- Стройтехнолог
ШАХТА ЛИФТА
Пространство, в котором перемещаются кабина, противовес и/или уравновешивающий груз (при их наличии).
ШАХТА ЛИФТА
Пространство, в котором перемещается кабина и (при наличии) противовес и/или уравновешивающее устройство кабины.
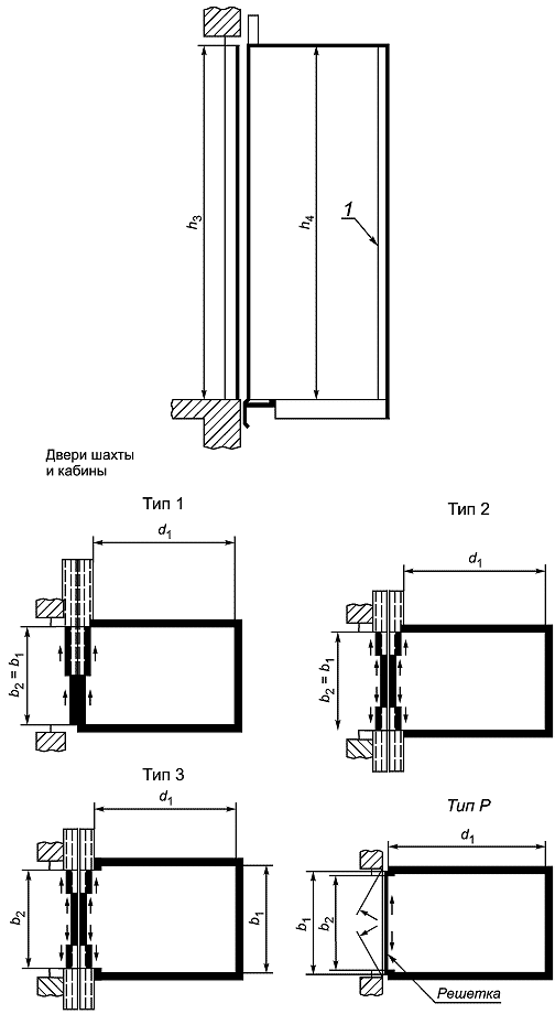
Внутренние размеры кабины, шахты машинного помещения (см. рисунки 1-3):



