Ограниченная прямолинейная обработка
Список продуктов
Данный раздел/документ содержится в продуктах:
Данный раздел/документ содержится в продуктах:
- Техэксперт: Охрана труда
- Техэксперт: Нормы, правила, стандарты и законодательство России
- Техэксперт: Нефтегазовый комплекс
- Техэксперт: Машиностроительный комплекс
- Стройэксперт. "Вариант Лидер"
- Техэксперт: Эксплуатация зданий
- Стройтехнолог
ОГРАНИЧЕННАЯ ПРЯМОЛИНЕЙНАЯ ОБРАБОТКА
(stopped straight work)
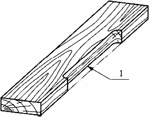
Фрезерование только части длины обрабатываемой заготовки (см. рисунок 2).

1 - обрабатываемая кромка
Рисунок 2 - Пример ограниченной прямолинейной обработки
ОГРАНИЧЕННАЯ ПРЯМОЛИНЕЙНАЯ ОБРАБОТКА



